What is ASME B16.5 Flange?
The ASME B16.5 specification is basically limited to flanges and flanged fittings. They are either made from forged or cast materials. Different types of flanges can be made with the given material specifications. They are also available in different pressure classes and made from plate material. The standard also meets the recommendations and requirements for flange bolting, flange joints and flange gasket.
The ASME B16.5 Flange’s standard is used along with the equipment, as described in the other volumes of ASME B16 series standards. For example, the ANSI B16.5 forged flanges of pressure class 150 are used with boilers or pressure vessel code along with B31 piping code.
What are the Types of Flanges?
There are several types of flanges like:
Why are flanges needed in piping?
The flanges are primarily used for connecting pipes, valves, pumps, and various other equipment to complete the piping system. Flanges can be welded or threaded to join with the pipe. Two flanges can also be bolted together with the help of a gasket so that the piping system is sealed safely so as to work with efficiency.
ASME B16.5 Class 300 Flanges Vs ASME Class 600 Flanges
The primary difference between ASME B16.5 Class 300 Flanges and ASME Class 600 Flanges, is in their pressure classes. They have different dimensions, except for the bore. The class 600 flanges are heavier and they can also be rated for a high pressure, compared to the class 300 flanges. They have a different outside diameter for both the flanges.
ASME B16.5 Flanges Vs ANSI B16.5 Flanges
The differences between ASME B16.5 Flanges and ANSI B16.5 Flanges, are:
ASME B16.5 Flange
Table of Content
| Dimensions | ASME B16.5, ASME B16.47 Series A & B, MSS SP44 |
| Size | 1/2" to 48" |
| JIS | 5K, 16 K 10 K, 20 K, 40 K, 30 K, 63 K |
|---|---|
| Class | 300 LBS, 150 LBS, 900 LBS, 600 LBS, 1500 LBS, 2500 LBS |
| UNI | 6Bar 16Bar 10Bar 25Bar 40Bar |
| Flange Face Type Provided By Manufacturer | RF (Raised Face), RTJ (Ring Type Joint) |
| EN | 6Bar 25Bar 10Bar 40Bar 16Bar |
| BS | BS4504 , BS4504, BS1560, BS10 |
| Value Added Services | CNC Machining, Customised Flange |
| Making Methods Provided By Manufacturer | Casting And Forging Rolling And Cutting |
| Outer diameters | 1/2” to 24” |
| Flanges Test | Hydrostatic testing machine/ UI trasonic flaw detector/ X-ray detector/ Direct-reading Spectrograph/ Magnetic particle detector |
| Coating/Surface Treatment By Manufacturer | Antirust Paint, Oil Black Paint, Yellow Transparent, Zinc Plated, Cold and Hot Dip Galvanized |
| Standards Provided By Manufacturer | EN-1092, DIN, API7S-43, API605, B16.48, ISO70051, MSS S44, ANSI/ASME B16.5, B16.47 Series A & B, BS4504, BS 10, API7S-15, JISB2220, BS1560-3.1, ASME/ANSI B16.5/16.36/16.47A/16.47B, EN1092 |
| Flanges Equipment | Pushing Machine/ electric bevelling machine/ Press machine/ Bending machine/ Sand-blasting machine etc |
Well known ASME B16.5 Flange distributor, dealers, wholesalers, supplier, importer, stockholders, exporters, stockists and Manufacturer in Mumbai
| NPS | DN |
|---|---|
| 1 | 25 |
| 1 1/2 | 40 |
| 1 1/4 | 32 |
| 1/2 | 15 |
| 2 | 50 |
| 2 1/2 | 65 |
| 3 | 80 |
| 3/4 | 20 |
| 4 | 100 |
| Stainless Steel | ASTM A182 Gr. 304, 304L, 309, 316, 310, 316L, 317L, 321, 347, 904L |
| Carbon Steel | High Yield CS ASTM A694 / A694 (F52 F56 F60 F65 F70 F80), A181 LF2, A105N, ASTM A350 LF2 / ASME SA350, ASTM/ASME A/SA105 A/SA105N & ASTM A105 / ASME SA105, P235GH, P245GH, P250GH, RST37.2, C22.8, S235JR, ST37, A516 Gr.70 A36, A694 F42, F46, F52, F60, F65, F706 |
| Duplex Steel | ASTM A 182, ASME SA 182 UNS NO S31803, S32205. Werkstoff No. 1.4462 |
| Nickel Alloy | ASTM / ASME SB 564 UNS 4400 (MONEL 400 ), UNS 2200 ( NICKEL 200 ), UNS 8825 INCONEL (825), UNS 2201 (NICKEL 201 ), UNS 8020 ( ALLOY 20 / 20 CB 3, UNS 6601 ( INCONEL 601 ), UNS 6625 (INCONEL 625), UNS 6600 (INCONEL 600 ), UNS 10276 ( HASTELLOY C 276 ) |
| Copper Nickel | Cupro Nickel 70/30 (C71500), Copper Nickel 90/10 (C70600 ), ASTM / ASME SB 62 / 151 / 61 / 152, UNS C71640 |
| Alloy Steel | F11, F12, F5, F9, F22, F91 |
| Other | Titanium, Aluminium, 254 SMO |
| ASME B16.5 Flange Price Per Piece in India | ASME B16.5 Pipe Flanges Price in INR | ANSI B16.5 Flanges Price in UAE Dirham | ASME B16 5 Flanges Price in USD |
| DUPLEX SS FLANGES LWNRF SA182 GR. F51 (UNSS31803) NPS 2 (DN 50) X 19.5 MM THK X CLASS 600 ASME B16.5 HUB OD 84 MM X ID 45 Per Unit | 17,801 | UAE Dirham 877.08 | $238.76 |
| FLANGE 3/4 300 SCH 160 WNRF A105N ASME B16.5 Per Unit | 830 | UAE Dirham 40.90 | $11.13 |
| 304L FLANGES WELDNECK SS FORGED 3CLS 150 SCH 40S RF ASME B16.5 Per Kg | 1,743 | UAE Dirham 85.86 | $23.38 |
Before making a purchase, compare our prices to those of Forged Flanges manufacturer in India. This is an estimate of the cost of ANSI B16.5 Class 150 Flange in India. Please contact us for the most recent stocklist of ASME B16.5 Swivel Flange in Mumbai. Petromet Flange is India's leading supplier of Forged Steel Flange.
| C22.8 | P250GH | A105 | SA105 | ||
| 15Mo3 | 16Mo3 | ||||
| 13CrMo44 | 13CrMo4-5 | A182F12 | SA182F12 | ||
| 10CrMo910 | 11CrMo9-10 | A182F22 | SA182F22 | ||
| 1.4901 | A182F92 | SA182F92 | X10CrWMoVNb9-2 | ||
| 1.4903 | A182F91 | SA182F91 | X10CrMoVNb9-1 | ||
| 1.4905 | E911 | X11CrMoVWNb9-11 | |||
| 1.4910 | X6CrNiMoN17-12-2 | ||||
| 1.4922 | X20CrMoV11-1 | ||||
| 1.4923 | X22CrMoV12-1 | ||||
| 1.4948 | X6CNi18-10 | ||||
| 1.4981 | X8CrNiMoNb16-6 | ||||
| 1.4988 | X8CrNiMoVNb16-13 | ||||
| 1.6311 | 20MnMoNi45 | ||||
| 1.6368 | WB36 | 15NiCuMoNb5 | |||
| W/TSTE355 | P355 | A350LF2 | SA350LF2 | ||
| W/TSTE420 | P420 | ||||
| W/TSTE460 | |||||
| 12CrMo19.5 (V/G) | A182/ F5 | SA182/ F5 | |||
| 1.5637 | 12Ni14 | ||||
| 1.7715 | 14MoV63 | ||||
| ST 52.3 | S355J2 N | ||||
| 42CrMo4 | |||||
| 25CrMo4 | |||||
| 14MoV63 | |||||
| 10Ni14 / 12Ni14 | |||||
| 1.4021 | X20Cr13 | ||||
| 1.4057 | X17CrNi16 2 | ||||
| 1.4122 | X39CrMo17 1 | ||||
| 1.4301 | A182/A479 304 | SA182/SA479 304L | X5CrNi18 10 | ||
| 1.4305 | X8CrNiS18 9 | ||||
| 1.4306 | A182/A479 304 | SA182/SA479 304L | X2CrNi19 11 | ||
| 1.4307 | X2CrNi18 9 | ||||
| 1.4313 | X3CrNiMo13 4 | ||||
| 1.4401 | X5CrNiMo17 12 2 | ||||
| 1.4404 | A182/A479 316 | SA182/SA479 316L | X2CrNiMo17 12 2 | ||
| 1.4410 | A182/A479 F53 | SA182/SA479 F53 | S 32750 | X2CrNiMoN25 7 4 | |
| 1.4435 | S 31603 | X2CrNiMo18 14 3 | |||
| 1.4439 | S 31726 | X2CrNiMoN17 13 5 | |||
| 1.4462 | A182/A479 F51 | SA182/SA479 F51 | S 31803 | X2CrNiMoN22 5 3 | |
| 1.4501 | A182/A479 F55 | SA182/SA479 F55 | S 32760 | X2CrNiMoCuWN25 7 4 | |
| 1.4529 | X1NiCrMoCuN25 20 | ||||
| 1.4539 | X1NiCrMoCu25 20 5 | ||||
| 1.4541 | A182/A479 321 | SA182/SA479 321 | X6CrNiTi18 10 | ||
| 1.4550 | A182/A479 347 | SA182/SA479 347 | X6CrNiNb18 10 | ||
| 1.4571 | A182/A479 316Ti | SA182/SA479 316TI | X6CrNiMoTi17 12 2 | ||
| 1.4713 | X10CrAlSi7 | ||||
| 1.4742 | X10CrAlSi25 | ||||
| 1.4828 | X15CrNiSi20 12 | ||||
| 1.4876 H/HT | Alloy 800 H/HT | X10NiCrAlTi32 20 | |||
| 1.4841 | A182/A479 F321H | X15CrNiSi25 21 | |||
| 1.4878 | X8CrNiTi18 10 | ||||
| 2.4360 | Alloy 400 | NiCu30Fe | |||
| 2.4605 | Alloy 59 | NiCr23Mo16Al | |||
| 2.4610 | Hastelloy C4 | NiMo16Cr16Ti | |||
| 2.4617 | Alloy B2 | NiMo28 | |||
| 2.4660 | Alloy 20 | NiCr20CuMo | |||
| 2.4663 | Alloy 617 | NiFe30Cr29Mo | |||
| 2.4816 | Alloy 600 | NiCr15Fe | |||
| 2.4819 | Hastelloy C276 | NiMo16Cr15W | |||
| 2.4856 | Alloy 625 | NiCr22Mo9Nb | |||
| 3.7035 | Titan Grade2 | Ti2 | |||
| A182 F304H | |||||
| A182 F321H | |||||
| A182 F347H | |||||
| A182 F1 | SA182 F1 | ||||
| A182 F9 | SA182 F9 | ||||
| A182 F11 | SA 182 F11 |

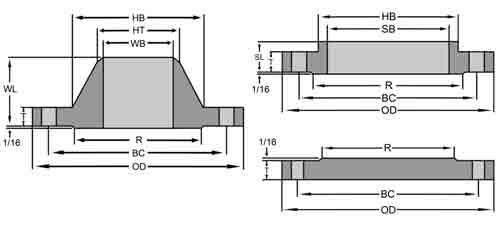
| Nominal Size |
Outside Diameter (OD) |
Min. Thickness (T) |
RF Dia. (R) |
No. of Bolt Holes | Diameter of Holes |
Bolt Circle (BC) |
SO Flanges Bore ID (SB) |
WN Flanges Bore ID (WB) |
Dia. Hub Base (HB) |
Dia. of Hub Top (HT) |
SO Flanges LTH (SL) |
WN Flanges LTH (WL) |
|---|---|---|---|---|---|---|---|---|---|---|---|---|
| 1⁄2 | 3.50 | 0.38 | 1.38 | 4 | 0.62 | 2.38 | 0.88 | 0.62 | 1.19 | 0.84 | 0.56 | 1.81 |
| 3⁄4 | 3.88 | 0.44 | 1.69 | 4 | 0.62 | 2.75 | 1.09 | 0.82 | 1.50 | 1.05 | 0.56 | 2.00 |
| 1 | 4.25 | 0.50 | 2.00 | 4 | 0.62 | 3.12 | 1.36 | 1.05 | 1.94 | 1.32 | 0.62 | 2.12 |
| 11⁄4 | 4.62 | 0.56 | 2.50 | 4 | 0.62 | 3.50 | 1.70 | 1.38 | 2.31 | 1.66 | 0.75 | 2.19 |
| 11⁄2 | 5.00 | 0.62 | 2.88 | 4 | 0.62 | 3.88 | 1.95 | 1.61 | 2.56 | 1.90 | 0.81 | 2.38 |
| 2 | 6.00 | 0.69 | 3.62 | 4 | 0.75 | 4.75 | 2.44 | 2.07 | 3.06 | 2.38 | 0.94 | 2.44 |
| 21⁄2 | 7.00 | 0.81 | 4.12 | 4 | 0.75 | 5.50 | 2.94 | 2.47 | 3.56 | 2.88 | 1.06 | 2.69 |
| 3 | 7.50 | 0.88 | 5.00 | 4 | 0.75 | 6.00 | 3.57 | 3.07 | 4.25 | 3.50 | 1.12 | 2.69 |
| 31⁄2 | 8.50 | 0.88 | 5.50 | 8 | 0.75 | 7.00 | 4.07 | 3.55 | 4.81 | 4.00 | 1.19 | 2.75 |
| 4 | 9.00 | 0.88 | 6.19 | 8 | 0.75 | 7.50 | 4.57 | 4.03 | 5.31 | 4.50 | 1.25 | 2.94 |
| 5 | 10.00 | 0.88 | 7.31 | 8 | 0.88 | 8.50 | 5.66 | 5.05 | 6.44 | 5.56 | 1.38 | 3.44 |
| 6 | 11.00 | 0.94 | 8.50 | 8 | 0.88 | 9.50 | 6.72 | 6.07 | 7.56 | 6.63 | 1.50 | 3.44 |
| 8 | 13.50 | 1.06 | 10.62 | 8 | 0.88 | 11.75 | 8.72 | 7.98 | 9.69 | 8.63 | 1.69 | 3.94 |
| 10 | 16.00 | 1.12 | 12.75 | 12 | 1.00 | 14.25 | 10.88 | 10.02 | 12.00 | 10.75 | 1.88 | 3.94 |
| 12 | 19.00 | 1.19 | 15.00 | 12 | 1.00 | 17.00 | 12.88 | 12.00 | 14.38 | 12.75 | 2.12 | 4.44 |
| 14 | 21.00 | 1.31 | 16.25 | 12 | 1.12 | 18.75 | 14.14 | 13.25 | 15.75 | 14.00 | 2.19 | 4.94 |
| 16 | 23.50 | 1.38 | 18.50 | 16 | 1.12 | 21.25 | 16.16 | 15.25 | 18.00 | 16.00 | 2.44 | 4.94 |
| 18 | 25.00 | 1.50 | 21.00 | 16 | 1.25 | 22.75 | 18.18 | 17.25 | 19.88 | 18.00 | 2.62 | 5.44 |
| 20 | 27.50 | 1.62 | 23.00 | 20 | 1.25 | 25.00 | 20.20 | 19.25 | 22.00 | 20.00 | 2.81 | 5.62 |
| 22 | 29.50 | 1.75 | 25.25 | 20 | 1.38 | 27.25 | 22.22 | 21.25 | 24.25 | 22.00 | 3.07 | 5.82 |
| 24 | 32.00 | 1.81 | 27.25 | 20 | 1.38 | 29.50 | 24.25 | 23.25 | 26.12 | 24.00 | 3.19 | 5.94 |

|
Nominal Size
|
Outside Diameter
(OD) |
Min. Thickness
(T) |
RF Dia.
(R) |
No. of Bolt Holes
|
Diameter of Holes
|
Bolt Circle
(BC) |
SO Flanges Bore ID
(SB) |
WN Flanges Bore ID
(WB) |
Dia. Hub Base
(HB) |
Dia. Hub Top
(HT) |
SO Flanges LTH
(SL) |
WN Flanges LTH
(WL) |
|---|---|---|---|---|---|---|---|---|---|---|---|---|
| 1⁄2 | 3.75 | 0.50 | 1.38 | 4 | 0.63 | 2.62 | 0.88 | 0.62 | 1.50 | 0.84 | 0.81 | 2.00 |
| 3⁄4 | 4.62 | 0.56 | 1.69 | 4 | 0.75 | 3.25 | 1.09 | 0.82 | 1.88 | 1.05 | 0.94 | 2.19 |
| 1 | 4.88 | 0.62 | 2.00 | 4 | 0.75 | 3.50 | 1.36 | 1.05 | 2.12 | 1.32 | 1.00 | 2.38 |
| 11⁄4 | 5.25 | 0.69 | 2.50 | 4 | 0.75 | 3.88 | 1.70 | 1.38 | 2.50 | 1.66 | 1.00 | 2.50 |
| 11⁄2 | 6.12 | 0.75 | 2.88 | 4 | 0.88 | 4.50 | 1.95 | 1.61 | 2.75 | 1.90 | 1.13 | 2.63 |
| 2 | 6.50 | 0.81 | 3.62 | 8 | 0.75 | 5.00 | 2.44 | 2.07 | 3.31 | 2.38 | 1.25 | 2.69 |
| 21⁄2 | 7.50 | 0.94 | 4.12 | 8 | 0.88 | 5.88 | 2.94 | 2.47 | 3.94 | 2.88 | 1.44 | 2.94 |
| 3 | 8.25 | 1.06 | 5.00 | 8 | 0.88 | 6.62 | 3.57 | 3.07 | 4.62 | 3.50 | 1.63 | 3.06 |
| 31⁄2 | 9.00 | 1.12 | 5.50 | 8 | 0.88 | 7.25 | 4.07 | 3.55 | 5.25 | 4.00 | 1.69 | 3.13 |
| 4 | 10.00 | 1.19 | 6.19 | 8 | 0.88 | 7.88 | 4.57 | 4.03 | 5.75 | 4.50 | 1.82 | 3.32 |
| 5 | 11.00 | 1.31 | 7.31 | 8 | 0.88 | 9.25 | 5.66 | 5.05 | 7.00 | 5.56 | 1.94 | 3.82 |
| 6 | 12.50 | 1.38 | 8.50 | 12 | 0.88 | 10.62 | 6.72 | 6.07 | 8.12 | 6.63 | 2.00 | 3.82 |
| 8 | 15.00 | 1.56 | 10.62 | 12 | 1.00 | 13.00 | 8.72 | 7.98 | 10.25 | 8.63 | 2.38 | 4.32 |
| 10 | 17.50 | 1.81 | 12.75 | 16 | 1.12 | 15.25 | 10.88 | 10.02 | 12.62 | 10.75 | 2.56 | 4.56 |
| 12 | 20.50 | 1.94 | 15.00 | 16 | 1.25 | 17.75 | 12.88 | 12.00 | 14.75 | 12.75 | 2.82 | 5.06 |
| 14 | 23.00 | 2.06 | 16.25 | 20 | 1.25 | 20.25 | 14.14 | 13.25 | 16.75 | 14.00 | 2.94 | 5.56 |
| 16 | 25.50 | 2.19 | 18.50 | 20 | 1.38 | 22.50 | 16.16 | 15.25 | 19.00 | 16.00 | 3.19 | 5.69 |
| 18 | 28.00 | 2.31 | 21.00 | 24 | 1.38 | 24.75 | 18.18 | 17.25 | 21.00 | 18.00 | 3.44 | 6.19 |
| 20 | 30.50 | 2.44 | 23.12 | 24 | 1.38 | 27.00 | 20.20 | 19.25 | 23.12 | 20.00 | 3.69 | 6.32 |
| 22 | 33.00 | 2.57 | 25.25 | 24 | 1.63 | 29.25 | 22.22 | 21.25 | 25.25 | 22.00 | 3.93 | 6.43 |
| 24 | 36.00 | 2.69 | 27.62 | 24 | 1.63 | 32.00 | 24.25 | 23.25 | 27.62 | 24.00 | 4.13 | 6.56 |

|
Nominal Size
|
Outside Diameter
(OD) |
Min. Thickness
(T) |
RF Dia.
(R) |
No. of Bolt Holes
|
Diameter of Holes
|
Bolt Circle
(BC) |
SO Flanges Bore ID
(SB) |
Dia. Hub Base
(HB) |
Dia. Hub Top
(HT) |
SO Flanges LTH
(SL) |
WN Flanges LTH
(WL) |
* WN Flanges Bore ID
(WB) |
|---|---|---|---|---|---|---|---|---|---|---|---|---|
| 1⁄2 | 3.75 | 0.56 | 1.38 | 4 | 0.63 | 2.62 | 0.88 | 1.50 | 0.84 | 0.88 | 2.06 | * |
| 3⁄4 | 4.62 | 0.62 | 1.69 | 4 | 0.75 | 3.25 | 1.09 | 1.88 | 1.05 | 1.00 | 2.25 | * |
| 1 | 4.88 | 0.69 | 2.00 | 4 | 0.75 | 3.50 | 1.36 | 2.12 | 1.32 | 1.06 | 2.44 | * |
| 11⁄4 | 5.25 | 0.81 | 2.50 | 4 | 0.75 | 3.88 | 1.70 | 2.50 | 1.66 | 1.12 | 2.62 | * |
| 11⁄2 | 6.12 | 0.88 | 2.88 | 4 | 0.88 | 4.50 | 1.95 | 2.75 | 1.90 | 1.25 | 2.75 | * |
| 2 | 6.50 | 1.00 | 3.62 | 8 | 0.75 | 5.00 | 2.44 | 3.31 | 2.38 | 1.44 | 2.88 | * |
| 21⁄2 | 7.50 | 1.12 | 4.12 | 8 | 0.88 | 5.88 | 2.94 | 3.94 | 2.88 | 1.62 | 3.12 | * |
| 3 | 8.25 | 1.25 | 5.00 | 8 | 0.88 | 6.62 | 3.57 | 4.62 | 3.50 | 1.81 | 3.25 | * |
| 31⁄2 | 9.00 | 1.38 | 5.50 | 8 | 1.00 | 7.25 | 4.07 | 5.25 | 4.00 | 1.94 | 3.38 | * |
| 4 | 10.75 | 1.50 | 6.19 | 8 | 1.00 | 8.50 | 4.57 | 6.00 | 4.50 | 2.12 | 4.00 | * |
| 5 | 13.00 | 1.75 | 7.31 | 8 | 1.12 | 10.50 | 5.66 | 7.44 | 5.56 | 2.38 | 4.50 | * |
| 6 | 14.00 | 1.88 | 8.50 | 12 | 1.12 | 11.50 | 6.72 | 8.75 | 6.63 | 2.62 | 4.62 | * |
| 8 | 16.50 | 2.19 | 10.62 | 12 | 1.25 | 13.75 | 8.72 | 10.75 | 8.63 | 3.00 | 5.25 | * |
| 10 | 20.00 | 2.50 | 12.75 | 16 | 1.38 | 17.00 | 10.88 | 13.50 | 10.75 | 3.38 | 6.00 | * |
| 12 | 22.00 | 2.62 | 15.00 | 20 | 1.38 | 19.25 | 12.88 | 15.75 | 12.75 | 3.62 | 6.12 | * |
| 14 | 23.75 | 2.75 | 16.25 | 20 | 1.50 | 20.75 | 14.14 | 17.00 | 14.00 | 3.69 | 6.50 | * |
| 16 | 27.00 | 3.00 | 18.50 | 20 | 1.63 | 23.75 | 16.16 | 19.50 | 16.00 | 4.19 | 7.00 | * |
| 18 | 29.25 | 3.25 | 21.00 | 20 | 1.75 | 25.75 | 18.18 | 21.50 | 18.00 | 4.62 | 7.25 | * |
| 20 | 32.00 | 3.50 | 23.00 | 24 | 1.75 | 28.50 | 20.20 | 24.00 | 20.00 | 5.00 | 7.50 | * |
| 22 | 34.25 | 3.75 | 25.25 | 24 | 1.88 | 30.63 | 22.22 | 26.25 | 22.00 | 5.25 | 7.75 | * |
| 24 | 37.00 | 4.00 | 27.25 | 24 | 2.00 | 33.00 | 24.25 | 28.25 | 24.00 | 5.50 | 8.00 | * |

|
Nominal Size
|
Outside Diameter
(OD) |
Min. Thickness
(T) |
RF Dia.
(R) |
No. of Bolt Holes
|
Diameter of Holes
|
Bolt Circle
(BC) |
SO Flanges Bore ID
(SB) |
* WN Bore ID
(WB) |
Dia. Hub Base
(HB) |
Dia. Hub Top
(HT) |
SO Flanges LTH
(SL) |
WN Flanges LTH
(WL) |
|---|---|---|---|---|---|---|---|---|---|---|---|---|
| 3 | 9.50 | 1.50 | 5.00 | 8 | 1.00 | 7.50 | 3.57 | * | 5.00 | 3.50 | 2.12 | 4.00 |
| 4 | 11.50 | 1.75 | 6.19 | 8 | 1.25 | 9.25 | 4.57 | * | 6.25 | 4.50 | 2.75 | 4.50 |
| 5 | 13.75 | 2.00 | 7.31 | 8 | 1.38 | 11.00 | 5.66 | * | 7.50 | 5.56 | 3.12 | 5.00 |
| 6 | 15.00 | 2.19 | 8.50 | 12 | 1.25 | 12.50 | 6.72 | * | 9.25 | 6.63 | 3.38 | 5.50 |
| 8 | 18.50 | 2.50 | 10.63 | 12 | 1.50 | 15.50 | 8.72 | * | 11.75 | 8.63 | 4.00 | 6.38 |
| 10 | 21.50 | 2.75 | 12.75 | 16 | 1.50 | 18.50 | 10.88 | * | 14.50 | 10.75 | 4.25 | 7.25 |
| 12 | 24.00 | 3.12 | 15.00 | 20 | 1.50 | 21.00 | 12.88 | * | 16.50 | 12.75 | 4.63 | 7.88 |
| 14 | 25.25 | 3.38 | 16.25 | 20 | 1.63 | 22.00 | 14.14 | * | 17.75 | 14.00 | 5.12 | 8.38 |
| 16 | 27.75 | 3.50 | 18.50 | 20 | 1.75 | 24.25 | 16.16 | * | 20.00 | 16.00 | 5.25 | 8.50 |
| 18 | 31.00 | 4.00 | 21.00 | 20 | 2.00 | 27.00 | 18.18 | * | 22.25 | 18.00 | 6.00 | 9.00 |
| 20 | 33.75 | 4.25 | 23.00 | 20 | 2.13 | 29.50 | 20.20 | * | 24.50 | 20.00 | 6.25 | 9.75 |
| 24 | 41.00 | 5.50 | 27.25 | 20 | 2.63 | 35.50 | 24.25 | * | 29.50 | 24.00 | 8.00 | 11.50 |

|
Nominal Size
|
Outside Diameter
(OD) |
Min. Thickness
(T) |
RF Dia.
(R) |
No. of Bolt Holes
|
Diameter of Holes
|
Bolt Circle
(BC) |
So Flanges Bore ID
(SB) |
Dia. Hub Base
(HB) |
Dia. Hub Top
(HT) |
SO Flanges LTH
(SL) |
WN Flanges LTH
(WL) |
* WN Bore ID
(WB) |
|---|---|---|---|---|---|---|---|---|---|---|---|---|
| 1⁄2 | 4.75 | 0.88 | 1.38 | 4 | 0.88 | 3.25 | 0.88 | 1.50 | 0.84 | 1.25 | 2.38 | * |
| 3⁄4 | 5.12 | 1.00 | 1.69 | 4 | 0.88 | 3.50 | 1.09 | 1.75 | 1.05 | 1.38 | 2.75 | * |
| 1 | 5.88 | 1.12 | 2.00 | 4 | 1.00 | 4.00 | 1.36 | 2.06 | 1.32 | 1.62 | 2.88 | * |
| 11⁄4 | 6.25 | 1.12 | 2.50 | 4 | 1.00 | 4.38 | 1.70 | 2.50 | 1.66 | 1.62 | 2.88 | * |
| 11⁄2 | 7.00 | 1.25 | 2.88 | 4 | 1.12 | 4.88 | 1.95 | 2.75 | 1.90 | 1.75 | 3.25 | * |
| 2 | 8.50 | 1.50 | 3.63 | 8 | 1.00 | 6.50 | 2.44 | 4.12 | 2.38 | 2.25 | 4.00 | * |
| 21⁄2 | 9.62 | 1.62 | 4.13 | 8 | 1.12 | 7.50 | 2.94 | 4.88 | 2.88 | 2.50 | 4.12 | * |
| 3 | 10.50 | 1.88 | 5.00 | 8 | 1.25 | 8.00 | - | 5.25 | 3.50 | - | 4.62 | * |
| 4 | 12.25 | 2.12 | 6.19 | 8 | 1.38 | 9.50 | - | 6.38 | 4.50 | - | 4.88 | * |
| 5 | 14.75 | 2.88 | 7.31 | 8 | 1.63 | 11.50 | - | 7.75 | 5.56 | - | 6.12 | * |
| 6 | 15.50 | 3.25 | 8.50 | 12 | 1.50 | 12.50 | - | 9.00 | 6.63 | - | 6.75 | * |
| 8 | 19.00 | 3.62 | 10.63 | 12 | 1.75 | 15.50 | - | 11.50 | 8.63 | - | 8.38 | * |
| 10 | 23.00 | 4.25 | 12.75 | 12 | 2.00 | 19.00 | - | 14.50 | 10.75 | - | 10.00 | * |
| 12 | 26.50 | 4.88 | 15.00 | 16 | 2.12 | 22.50 | - | 17.75 | 12.75 | - | 11.12 | * |
| 14 | 29.50 | 5.25 | 16.25 | 16 | 2.38 | 25.00 | - | 19.50 | 14.00 | - | 11.75 | * |
| 16 | 32.50 | 5.75 | 18.50 | 16 | 2.63 | 27.75 | - | 21.75 | 16.00 | - | 12.25 | * |
| 18 | 36.00 | 6.38 | 21.00 | 16 | 2.88 | 30.50 | - | 23.50 | 18.00 | - | 12.88 | * |
| 20 | 38.75 | 7.00 | 23.00 | 16 | 3.12 | 32.75 | - | 25.25 | 20.00 | - | 14.00 | * |
| 24 | 46.00 | 8.00 | 27.25 | 16 | 3.63 | 39.00 | - | 30.00 | 24.00 | - | 16.00 | * |

|
Nominal Size
|
Outside Diameter
(OD) |
Min. Thickness
(T) |
RF Dia.
(R) |
No. of Bolt Holes
|
Diameter of Holes
|
Bolt Circle
(BC) |
Dia. Hub Base
(HB) |
Dia. Hub Top
(HT) |
SO Flanges LTH
(SL) |
WN Flanges LTH
(WL) |
* WN Bore ID
(WB) |
|---|---|---|---|---|---|---|---|---|---|---|---|
| 1⁄2 | 5.25 | 1.19 | 1.38 | 4 | 0.88 | 3.50 | 1.69 | 0.84 | 1.56 | 2.88 | * |
| 3⁄4 | 5.50 | 1.25 | 1.69 | 4 | 0.88 | 3.75 | 2.00 | 1.05 | 1.69 | 3.12 | * |
| 1 | 6.25 | 1.38 | 2.00 | 4 | 1.00 | 4.25 | 2.25 | 1.32 | 1.88 | 3.50 | * |
| 11⁄4 | 7.25 | 1.50 | 2.50 | 4 | 1.12 | 5.13 | 2.88 | 1.66 | 2.06 | 3.75 | * |
| 11⁄2 | 8.00 | 1.75 | 2.88 | 4 | 1.25 | 5.75 | 3.12 | 1.90 | 2.38 | 4.38 | * |
| 2 | 9.25 | 2.00 | 3.63 | 8 | 1.12 | 6.75 | 3.75 | 2.38 | 2.75 | 5.00 | * |
| 21⁄2 | 10.50 | 2.25 | 4.13 | 8 | 1.25 | 7.75 | 4.50 | 2.88 | 3.12 | 5.62 | * |
| 3 | 12.00 | 2.62 | 5.00 | 8 | 1.38 | 9.00 | 5.25 | 3.50 | - | 6.62 | * |
| 4 | 14.00 | 3.00 | 6.19 | 8 | 1.63 | 10.75 | 6.50 | 4.50 | - | 7.50 | * |
| 5 | 16.50 | 3.62 | 7.31 | 8 | 1.88 | 12.75 | 8.00 | 5.56 | - | 9.00 | * |
| 6 | 19.00 | 4.25 | 8.50 | 8 | 2.12 | 14.50 | 9.25 | 6.63 | - | 10.75 | * |
| 8 | 21.75 | 5.00 | 10.63 | 12 | 2.12 | 17.25 | 12.00 | 8.63 | - | 12.50 | * |
| 10 | 26.50 | 6.50 | 12.75 | 12 | 2.63 | 21.25 | 14.75 | 10.75 | - | 16.50 | * |
| 12 | 30.00 | 7.25 | 15.00 | 12 | 2.88 | 24.38 | 17.38 | 12.75 | - | 18.25 | * |
(a). Center-to-Contract Surfaces other than Ring Joint Flange
| Size | Tolerance |
|---|---|
| NPS ≤ 10 | +/- 1.0 mm (+/- 0.03 in.) |
| NPS ≤ 12 | +/- 1.5 mm (+/- 0.06 in.) |
(b). Center-to-End (Ring Joint Flange)
| Size | Tolerance |
|---|---|
| NPS ≤ 10 | +/- 1.0 mm (+/- 0.03 in.) |
| NPS ≤ 12 | +/- 1.5 mm (+/- 0.06 in.) |
(c). Center surface-to-Contact surface other than ring joint Flange
| Size | Tolerance |
|---|---|
| NPS ≤ 10 | ±2.0 mm(±0.06 in.) |
| NPS ≥ 12 | ±3.0 mm(±0.12 in.) |
(d). End-to-End
| Size | Tolerance |
|---|---|
| NPS ≤ 10 | ±2.0 mm(±0.06 in.) |
| NPS ≥ 12 | ±3.0 mm(±0.12 in.) |
| Nominal Pipe Size | Threaded Flange | Blind Flange | Slip On Flange | Socket Weld Flange | Lap Joint Flange | Weld Neck Flange |
|---|---|---|---|---|---|---|
| ½ | 1 | 2 | 1 | 2 | 1 | 2 |
| ¾ | 2 | 2 | 2 | 2 | 2 | 2 |
| 1¼ | 3 | 3 | 3 | 3 | 3 | 3 |
| 1½ | 3 | 4 | 3 | 3 | 3 | 4 |
| 1 | 2 | 2 | 2 | 2 | 2 | 3 |
| 2 | 5 | 5 | 5 | 5 | 5 | 6 |
| 3 | 9 | 9 | 9 | 9 | 9 | 11.5 |
| 3½ | 12 | 13 | 11 | 11 | 11 | 12 |
| 2½ | 8 | 7 | 8 | 8 | 8 | 10 |
| 4 | 13 | 17 | 13 | 13 | 13 | 16.5 |
| 5 | 15 | 20 | 15 | 15 | 15 | 21 |
| 6 | 19 | 27 | 19 | 19 | 19 | 26 |
| 8 | 30 | 47 | 30 | 30 | 30 | 42 |
| 10 | 43 | 70 | 43 | 43 | 43 | 54 |
| 14 | 90 | 140 | 90 | 90 | 105 | 114 |
| 16 | 98 | 180 | 106 | 98 | 140 | 140 |
| 12 | 64 | 123 | 64 | 64 | 64 | 88 |
| 18 | 130 | 220 | 130 | 130 | 160 | 165 |
| 20 | 165 | 285 | 165 | 165 | 195 | 197 |
| 22 | 185 | 355 | 185 | 185 | 245 | 225 |
| 24 | 220 | 430 | 220 | 220 | 275 | 268 |
| Temperature (in F°) | 150# | 300# | 400# | 600# | 900# | 1500# | 2500# |
| < 100 | 285 | 740 | 985 | 1480 | 2220 | 3705 | 6170 |
| 200 | 260 | 680 | 905 | 1360 | 2035 | 3395 | 5655 |
| 300 | 230 | 655 | 870 | 1310 | 1965 | 3270 | 5450 |
| 400 | 200 | 635 | 845 | 1265 | 1900 | 3170 | 5280 |
| 500 | 170 | 605 | 805 | 1205 | 1810 | 3015 | 5025 |
| 600 | 140 | 570 | 755 | 1135 | 1705 | 2840 | 4730 |
| 650 | 125 | 550 | 730 | 1100 | 1650 | 2745 | 4575 |
| 700 | 110 | 530 | 710 | 1060 | 1590 | 2655 | 4425 |
| 750 | 95 | 505 | 675 | 1015 | 1520 | 2535 | 4230 |
| 800 | 80 | 410 | 550 | 825 | 1235 | 2055 | 3430 |
| 850 | 65 | 320 | 425 | 640 | 955 | 1595 | 2655 |
| 900 | 50 | 230 | 305 | 460 | 690 | 1150 | 1915 |
| 950 | 35 | 135 | 185 | 275 | 410 | 685 | 1145 |
| 1000 | 20 | 85 | 115 | 170 | 255 | 430 | 715 |
| Hydrostatic Test Pressure (in Psig) | 450 | 1125 | 1500 | 2225 | 3350 | 5575 | 9275 |
ASME B16.5 Flange
ANSI B16.5 Flange
ASME B16.5 Swivel Flange
ASME B16 5 class 900 Flange
ASME B16.5 class 1500 Flange
ASME B16.5 Class 2500 Flange
ASME B16.5 class 3000 Flange
ASME B16.5 Flanges
Forged Steel Flange
ASME B16.5 Standard Pipe Flanges
ASME B16 5 class 150 Flange
ASME B16.5 Forged Flanges
ASME B16.36 Orifice Flange
Class 150 Orifice Flange
ASME B16.5 Reducing Flange
Class 300 Reducing Flange
Flat Flange
ASME B16.5 Flat Face Flange
ASME B16.5 Square Flange
Black Pipe Square Flange
Expander Flange
Expander Weld Neck Flange
Pipe Expander Flange
Aluminum Square Flange
Groove & Tongue Flanges
Large Tongue Groove Flange
ASME B16.5 Groove & Tongue Flange
High Hub Blind Flange
Forging Facing Flange
Stainless Steel Forging Flange
KOC Approved Flange
EIL Approved Flange
IBR Approved Flange
PED Approved Flange
KNPC Approved Flange
ADNOC Approved Flange
| NPS | A | B |
|---|---|---|
| 1/2 | 3.0 | 1.5 |
| 3/4 | 3.0 | 1.5 |
| 1 | 3.0 | 1.5 |
| 1-1/4 | 3.0 | 1.5 |
| 1-1/2 | 3.0 | 1.5 |
| 2 | 3.0 | 1.5 |
| 2-1/2 | 3.0 | 1.5 |
| 3 | 4.5 | 1.5 |
| 3-1/2 | 6.0 | 3.0 |
| 4 | 6.0 | 3.0 |
| 5 | 6.0 | 3.0 |
| 6 | 6.0 | 3.0 |
| 8 | 8.0 | 4.5 |
| 10 | 8.0 | 4.5 |
| 12 | 8.0 | 4.5 |
| 14 | 8.0 | 4.5 |
| 16 | 10.0 | 4.5 |
| 18 | 12.0 | 6.0 |
| 20 | 12.0 | 6.0 |
| 22 | 12.0 | 6.0 |
| 24 | 12.0 | 6.0 |
ASME B16.5 stands for American Society of Mechanical Engineers B16.5 standard and it defines the following:
| Size | Tolerance |
|---|---|
| NPS ≤ 18 | +3.0, -0.0 mm (+0.12,-0.00 in.) |
| NPS ≥ 20 | +5.0, -0.0 mm (+0.19,-0.00 in.) |
| Nominal Hose Size | Weight of Fitting | Fitting Length A |
Flared Diameter D ASA150 |
Fitting Inside Diameter I ASA150 |
†3A | |||||
|---|---|---|---|---|---|---|---|---|---|---|
| in | mm | in | mm | in | mm | in | mm | in | mm | |
| 1 | 25 | 1.20 | 2.63 | 2.36 | 60.00 | 2.00 | 50.80 | 0.85 | 21.50 | √ |
| 1 1/4 | 32 | 1.59 | 3.50 | 2.67 | 67.72 | 2.50 | 63.50 | 1.03 | 26.21 | √ |
| 1 1/2 | 40 | 2.15 | 4.73 | 2.75 | 69.86 | 2.87 | 73.00 | 1.25 | 31.75 | √ |
| 1/2 | 13 | 0.57 | 1.25 | 1.67 | 42.50 | 1.38 | 35.00 | 0.37 | 9.40 | – |
| 3/4 | 20 | 0.84 | 1.84 | 1.86 | 47.24 | 1.69 | 42.90 | 0.62 | 15.75 | √ |
| 2 | 50 | 2.92 | 6.41 | 3.20 | 81.22 | 3.62 | 92.00 | 1.76 | 44.60 | √ |
| 21/2 | 65 | 4.36 | 9.59 | 3.70 | 94.00 | 4.13 | 105.00 | 2.25 | 57.15 | √ |
| 3 | 80 | 6.02 | 13.24 | 3.74 | 95.00 | 5.00 | 127.00 | 2.63 | 66.70 | √ |
| Flange Inspection and Test Plan Task | Client | TPI Inspection | Vendor |
|---|---|---|---|
| Mill test reports(incl.heat treatment records,etc) | R | R | H |
| Metallographic examination, if applicable | R | W | H |
| Execution of heat treatment, if specified | R | W | H |
| Visual and dimensional and thickness control | R | H | H |
| Non-destructive testing (UT, MT or PT), if applicable | R | S/R | H |
| Stamping, marking and color coding check | R | W | H |
| Documentation review prior to release(Final activity of Technical Inspection) | R | H | H |
| Final visual inspection including packaging and quantity control | R | H | H |
| Pre-shipment Inspection | H | H | H |
Shell Pressure Test for Flanged Fittings
The shell pressure test for flanged fittings must be performed at a pressure no less than 1.5 times the pressure rating at 38°C (100°F), rounded off to the next higher 1 bar (25 psi) increment.
Test Duration
| Flanged Fittings Size | Duration, Sec |
|---|---|
| NPS ≤ 2 | 60 |
| 2 1/2 ≤ NPS ≤ 8 | 120 |
| NPS ≥ 10 | 180 |
Flanges Types
Pipe Fittings Material
Flanges Material
Other Products